Chi tiết sản phẩm
Trang chủ >> Sản phẩm >> Sản phẩm THIẾT BỊ ĐIỆN >> Sản phẩm điện trung thế >> Đầu cáp ngầm trung thế và phụ kiện >> Đầu cáp TEE Euromold
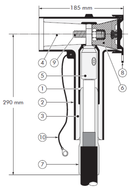
- Đầu cáp TEE Euromold
- Mã sản phẩm: K400TB
- Giá: Liên hệ
- Lượt xem: 524
- Số lượng:
- Đặt mua sản phẩm
- Thông tin sản phẩm
- Bình luận
Sản phẩm cùng loại






















